| 发布日期:2019-04-16 |
引言
随着科学技术的发展,人们对材料的要求也越来越高,改进现有材料与制备新型高性能材料也成了科学家们的主要任务,因此需要将先进的测试方法不断地应用到各种材料深层次的研究上,以便对材料的微观结构进行检测分析,进而对材料的性能进行提升。先进的测试方法对材料科学的研究至关重要,而激光拉曼光谱技术作为一种新兴的检测方法,在推动材料科学的进步也将发挥着重要作用。
应用
拉曼光谱在石墨烯结构表征中的应用
石墨烯是sp2碳原子紧密堆积形成的六边形蜂窝状结构的二维原子晶体,具有超高的电导率与热导率、巨大的理论比表面积、极高的杨氏模量与抗拉强度,是碳材料家族的一颗新星,可望在微纳电子器件、光电检测、转换材料,复合材料等诸多领域等到广泛应用。自石墨烯被发现以来,拉曼光谱技术由于其快速无损、分辨率较高成为石墨烯研究领域的重中之重的研究方法。
对不同层数的石墨烯用拉曼光谱检测,如图1

图1 不同层数石墨烯的拉曼谱图
在石墨烯中,如果存在缺陷就会在拉曼谱图上出现D峰,使用G峰与D峰的强度比来定义缺陷程度。如图2

图2 D峰与G峰的强度比ID/IG
从拉曼光谱可知,不同层数的G峰强度存在线性相关,D峰与G峰的强度比也存在一定的相关性,拉曼光谱技术可用来表征石墨烯的层数和缺陷。
对两种不同堆垛方式的石墨烯进行拉曼光谱检测,如图3

(a)G峰对比 (b)G'峰对比
图3 对ABC,ABA两种不同堆垛方式的G峰与G'峰的拉曼光谱
由图可知,不同堆垛方式的石墨烯在G峰和G'峰存在差异,拉曼光谱可对石墨烯不同堆垛方式进行鉴别。
在石墨烯表征中,拉曼光谱发挥的作用远不止这些,还可对其边缘手性、掺杂、温度与压力的影响等进行检测,在石墨烯研究中扮演着重要作用。
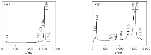
在不同激发波长下的单壁碳纳米管的拉曼光谱研究
自单壁碳纳米管被合成出来以后,由于其具有奇特的物理性质和广阔的应用前景,得到了人们的广泛关注。而拉曼光谱是研究单壁碳纳米管的有力手段之一,对于了解碳纳米管的结构与物理性质具有重要的意义。
分别使用457.5nm,632.8nm的激发波长对其进行检测,457.5nm,632.8nm分别对应正常拉曼光谱和共振拉曼光谱。径向呼吸模位于低频区160cm-1附近,是单壁碳纳米管的振动模,可用来判断是否有单壁碳纳米管及其直径。此实验根据不同波长下的径向呼吸模频移来获得直径分布范围。如图4

图4 不同波长下的拉曼谱图(A为457.5nm,B为632.8nm)
可知457.5nm波长下的164cm-1为径向呼吸模,由径向呼吸模的频移与直径的关系1532584905695235.png可推测出直径范围。
目前拉曼光谱已应用于材料科学的研究,已有大量科研人员使用拉曼光谱来对材料的微纳结构进行研究,由于快速,无损,灵敏度高等特点,拉曼光谱在材料科学领域的应用将会随着技术和设备越来越广泛,并将会对新型材料的研究起着重大作用。
参考文献:
拉曼光谱在石墨烯结构表征中的应用, 吴娟霞等
在不同激发波长下的单壁碳纳米管的拉曼光谱研究,陈林涛等

